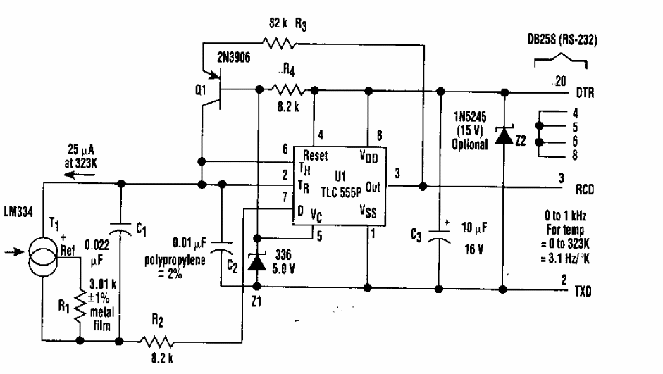
Found in an Electronic Design from the 90's, this circuit uses common components. The circuit is calibrated at 50º C.
This frequency division multiplexing signal decoding circuit is from a 1980s documentation. The integrated...
This circuit regulates negative voltages based on regulator 723. The maximum output current will...
Found in the April 1995 issue of Electronics Now, this circuit operates at a lower frequency than...