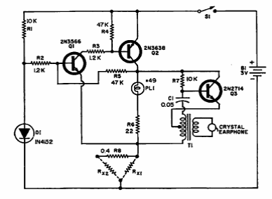
Found in a 1967 Electronics World, this circuit uses components from the time. Modern general-purpose transistors can be used. The transformer is output from transistor radios.

Found in a 1967 Electronics World, this circuit uses components from the time. Modern general-purpose transistors can be used. The transformer is output from transistor radios.
