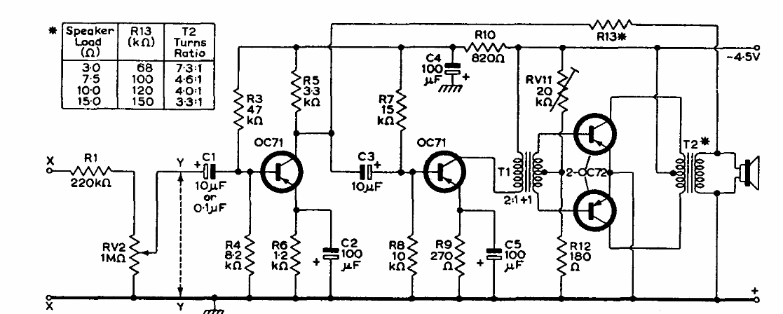
This 4-transistor amplifier can work from 4.5 or 6 V power supplies. We found it in a Mullard transistors manual from 1960. The transistors are from the time.
This constant current source is from the LM11's own factory manual used in the application. The circuit is...
The purpose of this circuit is to detect whether a coil has shorted turns. The coil must be fitted...
This medium wave radio must use a high impedance piezoelectric, crystal or magnetic phone and the...