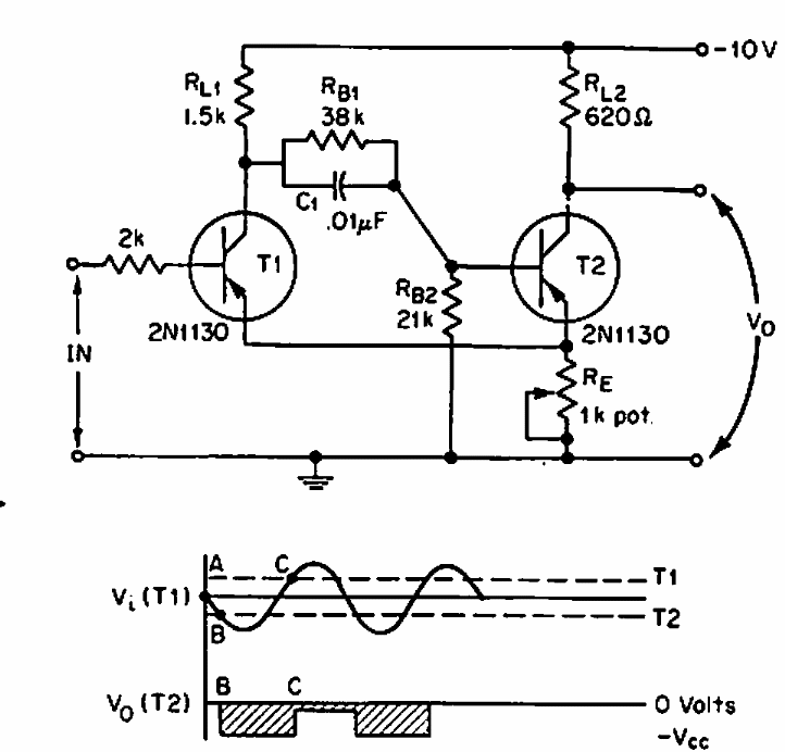
This basic Schmitt trigger was found in an American publication from 1968. The circuit uses transistors from the time. Modern general-purpose types can be used.
The battery charger shown in the figure uses two 60 W incandescent bulbs in series to limit the...
May 2017 - Mouser Electronics already has in stock with the new ADP244x switched regulators from...
The configuration shown in the figure uses two NPN transistors activating the load when the input...