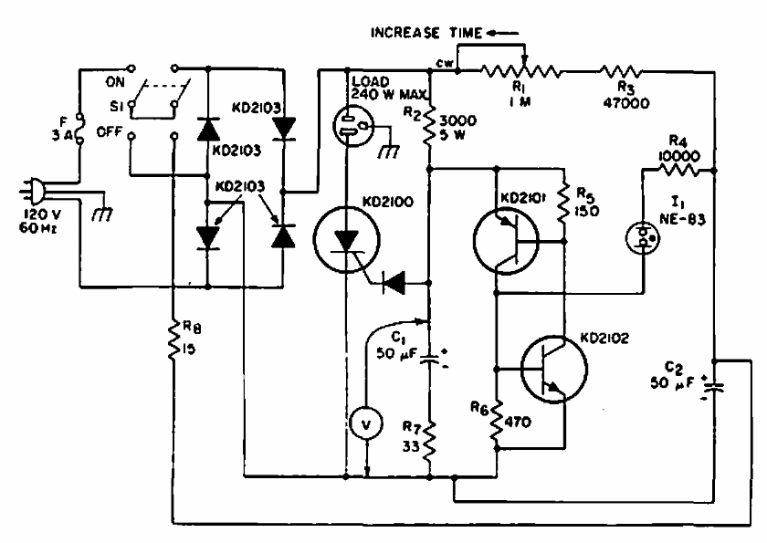
This circuit was found in a 1967 RCA documentation. The semiconductor components are from the time, and modern equivalents can be tried.
This circuit can also use other series operational amplifiers such as MC33172, MC33174, MC35171,...
Found in Popular Electronics from the 90s, this circuit mutes a scanner's speaker in the absence of a...
This circuit was found in General Electric documentation from 1965. The transistors are from that...