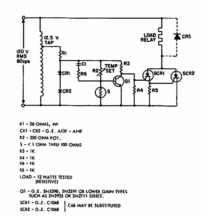
This circuit for heating elements was taken from a 1966 General Electric manual. The SCRs are load-according, and the sensor is 1 ohm.
This shield or interface makes it possible to control power loads connected to the power grid from...
This circuit is ideal for creating a source that allows the use of automotive power devices on a...
We found this circuit in a 90's Radio Electronics. The circuit can still be easily assembled as all...