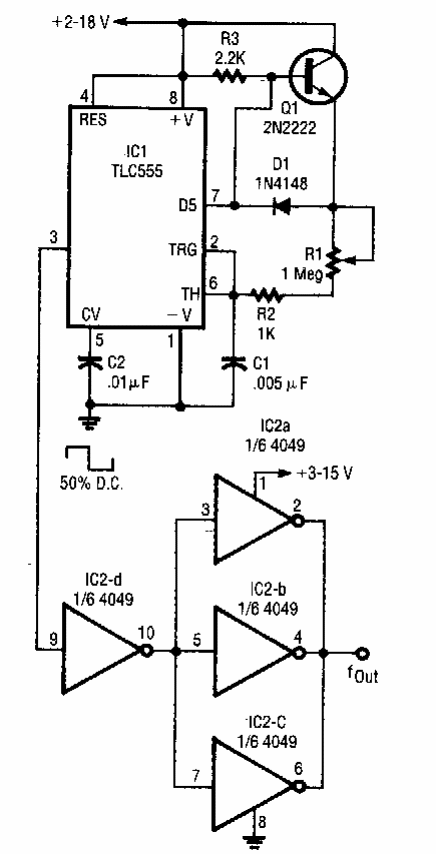
Found in an Electronics Now from the 90s, this circuit with the 555 generates a signal with 50% duty cycle. Frequency is set in R1.

Found in an Electronics Now from the 90s, this circuit with the 555 generates a signal with 50% duty cycle. Frequency is set in R1.
