Found in a 1967 American documentation, this circuit produces a pulse with a delay that depends on the components used. The operational is from the time.
This configuration can be found in several articles on this site. The one shown in the diagram is from...
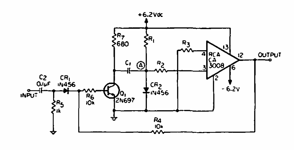
The integrated circuit used in this configuration of old documentation is not very common today. The...
This circuit mimics the trill of a bird. We found it in an American documentation from the 90s. It is...