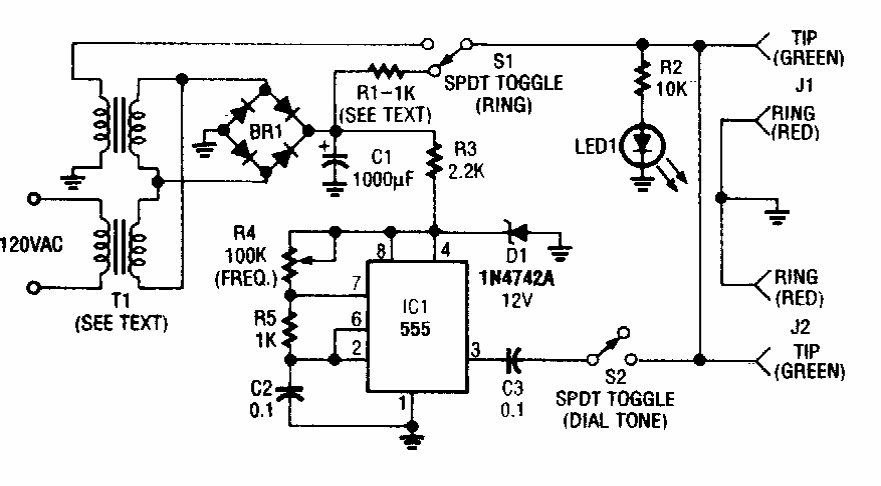
Found in an older Radio Electronics, this circuit generates signals that can be used with regular analog telephones.
This circuit was obtained from a 1967 General Electric manual. The circuit uses components of the time,...
This circuit uses an amplifier from National Semiconductor, uncommon nowadays. The numbers in...
This circuit is powered by the source of the equipment under analyze. We found this configuration in a 1974...