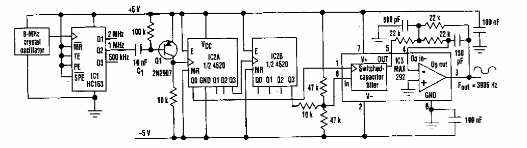
Found in an Electronic Design from the 1990s, this circuit generates signals from 500 kHz to 1 MHz that are digitally synthesized to provide a sinusoidal output.
This configuration was found in an American publication from the 90s. Operators admit equivalents just...
The circuit shown in the figure has basically the same configuration as any TTL oscillator, with...
This circuit with the PLL567 serves as a decoder for PWM modulated signals of frequencies up to...