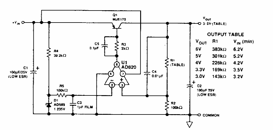
This simple LDO, or low voltage drop regulator was found in an Electronic Design from the 90s. The circuit uses components from the time.
In the figure we have the adapter circuit for connecting a headphone to the output of a stereo...
Found in the June 1972 issue of Radio Electronics magazine, this circuit generates signals that...
The output of this circuit must be connected to the input of an audio amplifier. The microphone is a small...