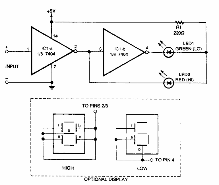
We find this circuit in an Electronics Now. The indication of the logic level is done on a 7-segment display according to the connections given in the diagram.
This circuit consists of a simple continuity test with two transistors forming a relaxation...
This circuit is a manual of 1972 RCA power transistors. The critical components of the project are...
Found in the 1974 Ferranti transistor manual, this Schmitt trigger circuit uses general-purpose transistors...