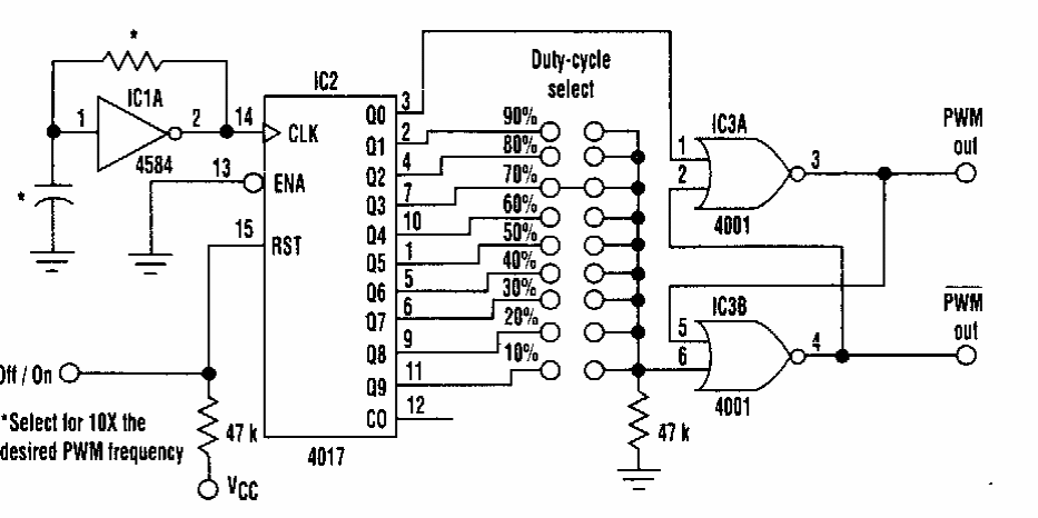
This circuit was obtained from an Electronic Design from the 90's. The circuit generates signals at a frequency determined by R and C. The selection by the jumpers determines the PWM modulation.
This circuit is from an old documentation. However, it can be designed based on modern transistors...
The oscillator shown generates a rectangular output signal at a frequency of 5 MHz, determined by the...
This circuit was found in a 90s EDN. In it we have the use of LEDs and diodes to stabilize the supply...