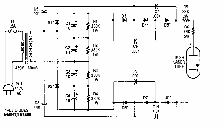
This high voltage source for gas LASER was found in documentation from the 1990s. The circuit is low current.
This circuit consists of an adapter that allows the reading of low currents at various scales. A...
In this circuit of Texas Instruments an incandescent lamp is used as a light source, and lenses are...
The frequency of a XTAL (up to 1 MHz) can be divided by powers of 2 up to 16,384 using the CMOS IC...