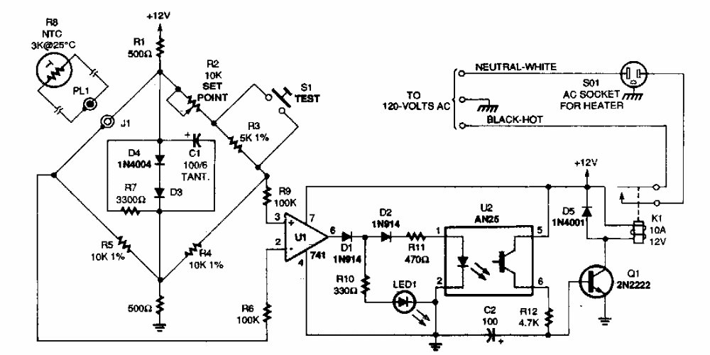
This circuit was found in a Popular Electronics from the 90's. The components are common. The potentiometer adjusts the circuit's trigger point.
Found in a 1966 documentation, this mid-wave receiver makes use of period germanium transistors. The phone...
The purpose of the practical circuit shown in the figure is to generate a pulse of programmed...
The circuit shown is from National Semiconductor's Linear Applications Handbook. The LM3900 is a...