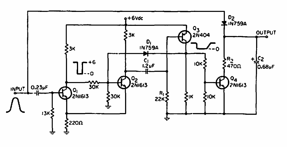
We found this circuit in an American documentation from the 60s. The circuit can be made with equivalent transistors. It basically consists of a monostable.
Mouser Electronics is making available the Texas Instruments DRV401 Q1 integrated circuit, a...
This TTL circuit for PC was found in an English documentation from 1992. The integrated circuit used...
We found this circuit in a Popular Electronics from 1992. The circuit shows how to use a variac in a...