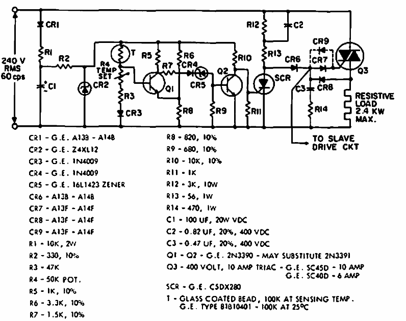
This semi-proportional temperature control was found in old American documentation. The components are from the period and the maximum power of 2.4 kW.
The circuit presented, from the Analog Devices linear integrated circuits manual, has compensation for...
Two 4011 NAND gates are used in this crystal-controlled oscillator. The frequency can reach a few...
This circuit was obtained from Elektor magazine and published in the Encyclopedia of Electronic Circuits...