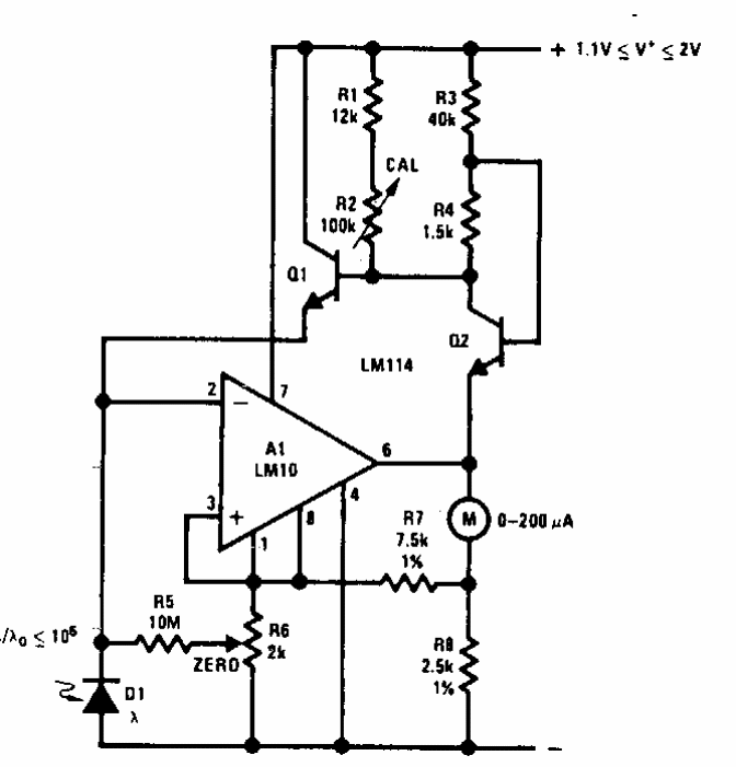
Found in National Semiconductor documentation, this logarithmic meter is powered with a voltage of only 1.5 V. Equivalent operational amplifiers can be tested.
We found this circuit at Modern Electronics in January 1991. The magazine no longer exists, but...
Found in a 90's EDN, this circuit can be used as a shield. The components depend on the MOSFETs...
This circuit will trigger an audible warning signal after the end of the pre-programmed timing. Using...