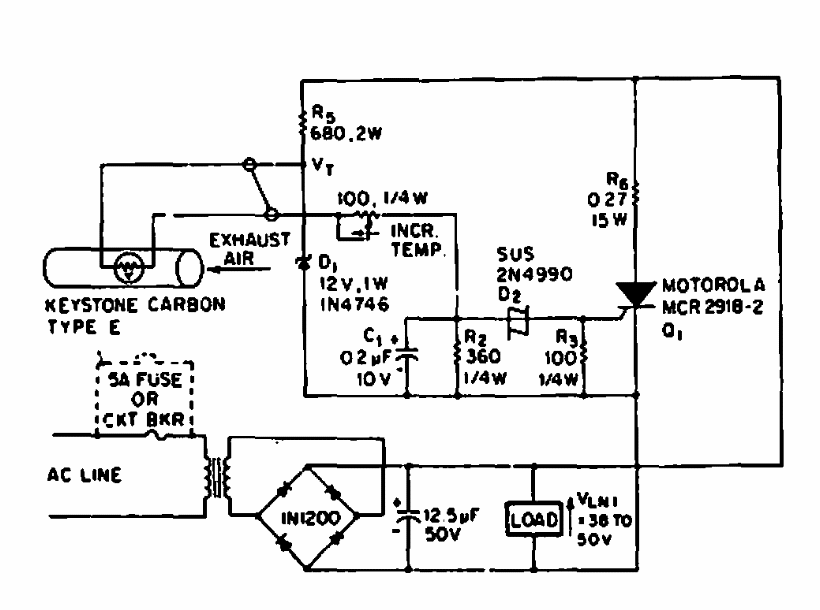
This circuit uses a heated filament as a sensor. With the air current it changes resistance, and the circuit detects it. The circuit is from a 1969 EEE.
This circuit was found in old documentation. The SCR can be any of the 106 family. Note the sensor...
This simple regulator provides a voltage of 5 V with a current of up to 10 A. The transistor must...
This circuit utilizes a precision operational amplifier that can be replaced with an equivalent. The...