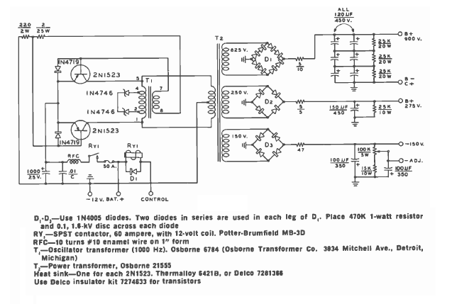
Found in a documentation for radio amateurs from 1977, this circuit is intended to power equipment from 12 V of the car battery. Transistors are power types of the time.

Found in a documentation for radio amateurs from 1977, this circuit is intended to power equipment from 12 V of the car battery. Transistors are power types of the time.
