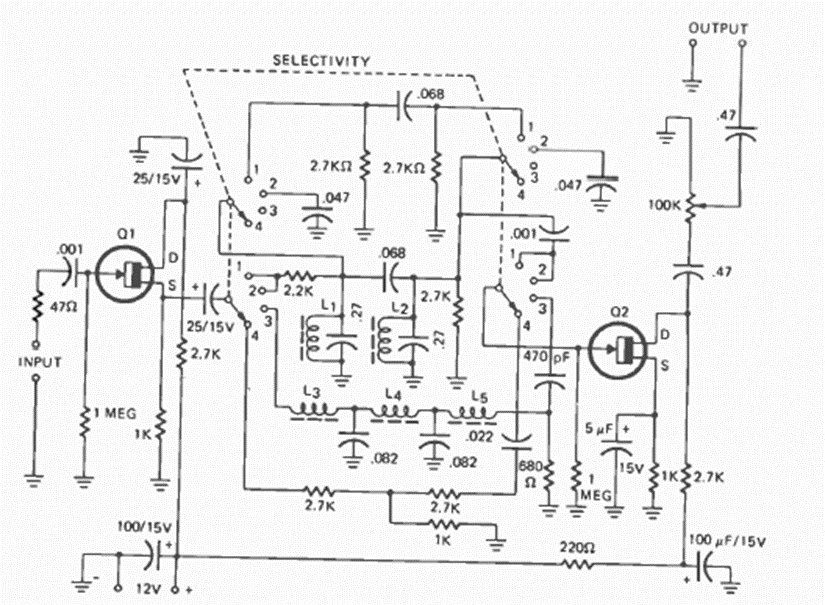
This sophisticated filter for audio signals was found in Radio Electronics magazine. The frequencies are determined by LC circuits. The circuit has selectivity selected by a switch.
Audio frequencies in the 300 Hz to 30 kHz range can be measured with this circuit. Transistors allow...
This dimmer or light control for incandescent light bulbs or even small heaters, is one of many...
This amplifier for a sinusoidal function generator uses a 741 integrated circuit. The circuit is...