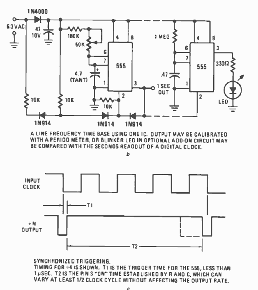
This mains-synchronized circuit produces a simple 1 pulse per second. The circuit is from a Radio Electronics magazine from May 1977.
This circuit, obtained from the component manual used, has an ultra narrow 1 kHz range given by...
The figure shows how to implement a No – OR or NOR function with 1 general purpose transistor. The supply...
According to its author, this device indicates the amount of force applied to the sensors. The...