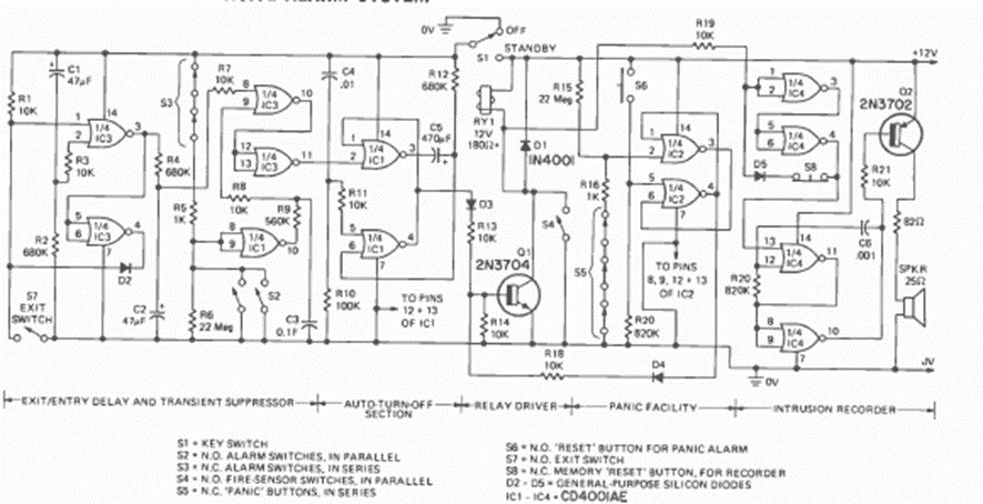
This circuit was found in an article in Radio Electronics magazine from May 1975. The circuit has several features and is powered by a 12 V source or battery.
This circuit can be used as a time automation for driving motors in robotics and mechatronics. What we have...
The source used in this timer is of the type without transformer and regulated by the 7 W zener. The...
This trigger-delay circuit was found in a 1960s General Electric unijunction transistor manual. The...