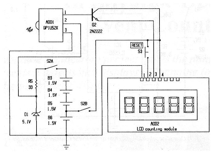
This circuit came out in a Modern Electronics from June 1990. In it we have a low frequency infrared pulse receiver. The transmitter is on the CB3249E. The two critical components of the receiver are the receiver module and the pulse counter module of type GP1U52X. This module was sold at the time by Radio Shack, but according to information there are equivalents. Note the additional 1.5V power supplied by a 4-cell battery holder. Other types of modules that have 5V logic input control can be used in the application.




