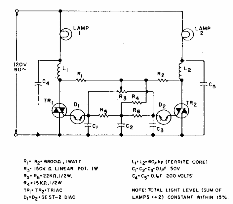
This Cross Fader as it is also known causes the brightness of one lamp to increase while the brightness of the other decreases. The circuit is from General Electric's 90s documentation. Equivalent triacs and SBS can be used.
This Cross Fader as it is also known causes the brightness of one lamp to increase while the brightness of the other decreases. The circuit is from General Electric's 90s documentation. Equivalent triacs and SBS can be used.