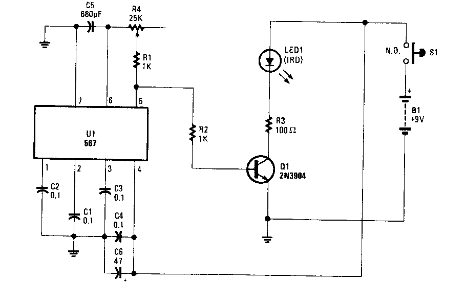
This circuit appears in similar versions on this site. This is from a Popular Electronics from the 80's. The power depends on R3 which can be changed according to the LED. Eventually a more powerful transistor can be used as well.
This circuit appears in similar versions on this site. This is from a Popular Electronics from the 80's. The power depends on R3 which can be changed according to the LED. Eventually a more powerful transistor can be used as well.