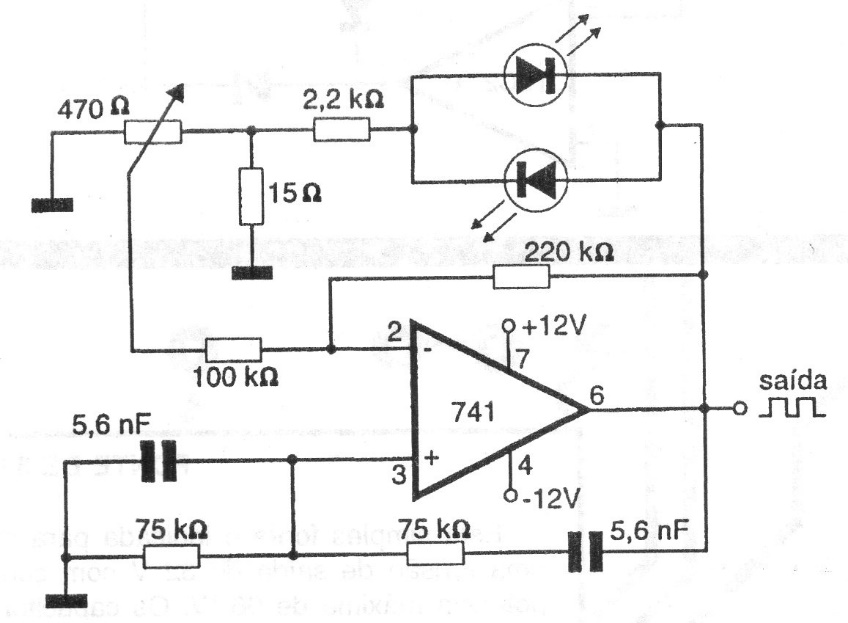
This conventional oscillator with the 741 can be precisely adjusted to produce a 400 Hz signal. The symmetrical source can have voltages from 6 to 12 V and the signal produced is rectangular with the amplitude determined by the zener diodes. The frequency is determined by the 5.6 nF capacitors that can be changed to obtain other frequencies.




