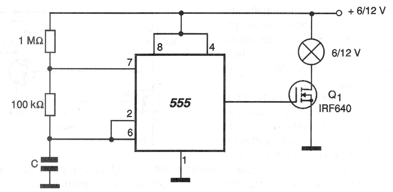
This flasher for power loads such as lamps and LEDs uses a 555 as an oscillator. The supply voltage can be between 6 and 15 V, and the frequency depends on C which can have values between 100 nF and 10 uF.
This flasher for power loads such as lamps and LEDs uses a 555 as an oscillator. The supply voltage can be between 6 and 15 V, and the frequency depends on C which can have values between 100 nF and 10 uF.