This circuit from the 1980s uses an operational amplifier that is uncommon today. The circuit can be designed with modern operators. The gain is 40 dB.
This oscillator was found in the November 1986 issue of Radio Electronics magazine. The frequency...
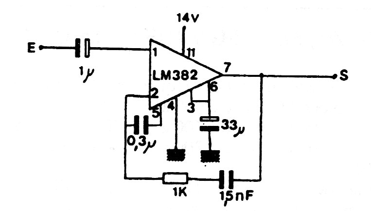
We found this circuit in Motorola's Linear Databook in 1990. The integrated circuit used is no...
This circuit was found in American documentation from the 1960s. The operational amplifier is from that...