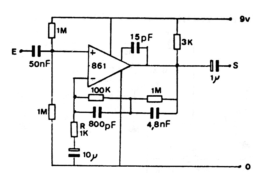
This amplifier for old record players has RIAA correction and was found in documentation from the 1980s. The operational amplifier can be replaced by an equivalent and the power need not be symmetrical. The voltage must be according to the operational.




