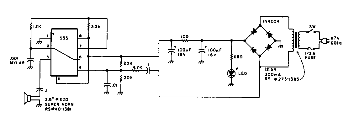
This repellent operates with frequencies from 30 to 45 kHz, serving for insects and rodents. The circuit is from 80s documentation. The transducer is a piezoelectric type.
We found this circuit in the April 1975 Radio Electronics magazine. The circuit has a latch and...
We found this sophisticated home alarm in a 1994 documentation. The circuit supports sensors of...
This circuit was found in the 1991 Electronics Experimenter's Handbook. It activates a relay when...