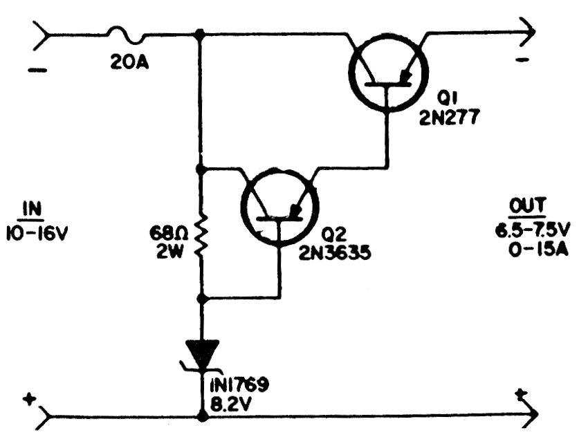
This reducer was found in documentation from the 1980s, using transistors of the time. The higher current transistor must have an excellent heat sink.
We found this circuit in the On Semiconductor thyristor manual. He makes use of a triac and a PUT....
This 80's circuit uses a light-sensitive SCR or LASCR and a one-sided silicon switch SUS, uncommon...
Using an RCA CA3018 as a base, this circuit has a sensitivity of 2 Mohms per volt. The circuit is from a...