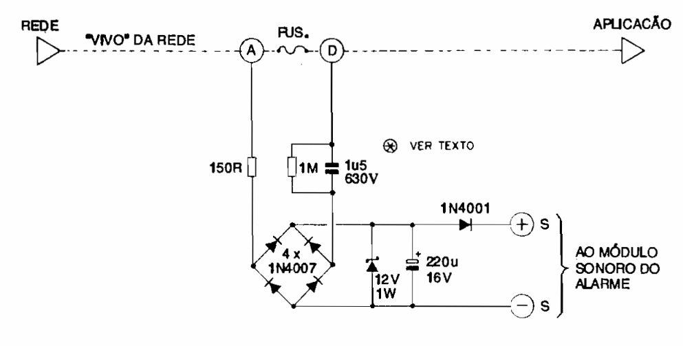
This circuit is from an old documentation from the 80's. The circuit provides an output signal for a warning or alarm system that indicates when a fuse or circuit breaker opens.
We found these circuits in a Popular Electronics from the 90s. The circuit has a simple low power...
This LED diode test is suggested by the Texas Instruments optoelectronics manual. The transformer current...
This RF monitor or field strength meter can use instruments from 100 uA to 1 mA full scale. The...