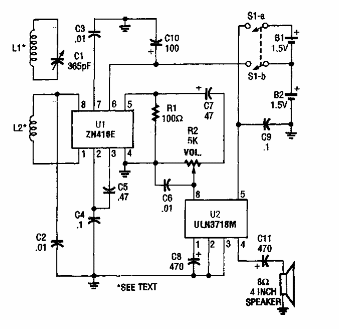
Found in a Popular Electronics from the 90s, this circuit makes use of an unusual integrated today. The coils are for the medium wave range.
The circuit presented, from the Analog Devices linear integrated circuits manual, has compensation for...
Two 4011 NAND gates are used in this crystal-controlled oscillator. The frequency can reach a few...
This circuit was obtained from Elektor magazine and published in the Encyclopedia of Electronic Circuits...