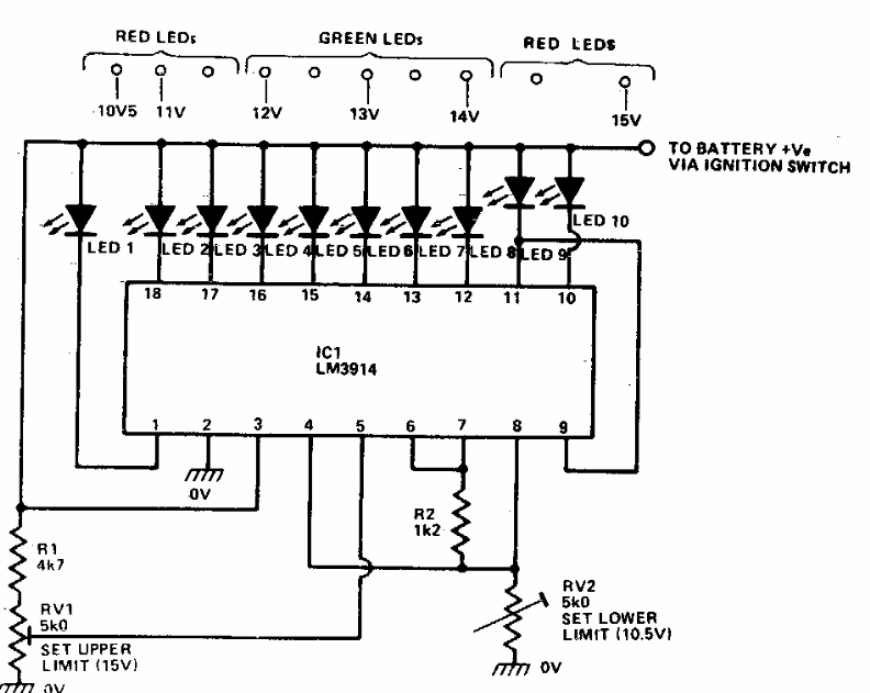
Based on the well-known LM3914, this circuit was found in an old American documentation. Trimpots adjust the scale limits.
This elaborate mixer is from an Electronics Today International from the 80s. Operational...
This circuit was obtained in the publication 101 Electronics Projects of 1979. The circuit can be...
Found in a Popular Electronics from the 90s, this game can be seen in other configurations on this site. The...