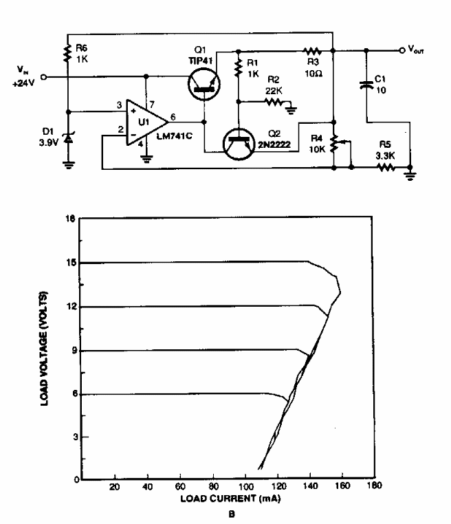
The name of this circuit comes from the appearance of its characteristic curve shown next to the diagram. The circuit was found in a Popular Electronics from the 90s.
This sound effect circuit was obtained from an article in the April 1969 issue of Radio...
Found in a 1990 Electronics Handbook, this circuit causes an LED to flash when the phototransistor receives...
Found in the May 1997 issue of Electronics Now, this circuit produces a variety of sound effects for...