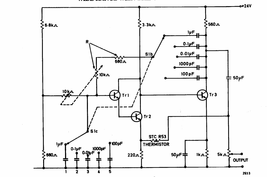
This Vienna bridge multi-band oscillator circuit was found in a 1974 Ferranti transistor manual. The circuit generates signals from 25 Hz to 1 MHz in 5 bands selected by the capacitors.
This circuit extends the scale of a milliammeter. We found it in a documentation from the 60's. The...
This circuit was found in old documentation, appearing in several ways in this section. PUTs are...
We have in the figure as a monostable a proximity switch where our body capacitance (estimated at 200...