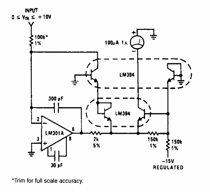
In this 1990s circuit, found in a National Semiconductor manual, the output voltage is the square of the input voltage. The components are from the period.
The circuit shown is from the Texas Instruments optoelectronics manual, applying to low power...
This circuit was found in a 1968 General Electric documentation. It has an input impedance of 2 M ohms...
This filter that rejects a frequency range determined by the double-T was found in the August 1993...