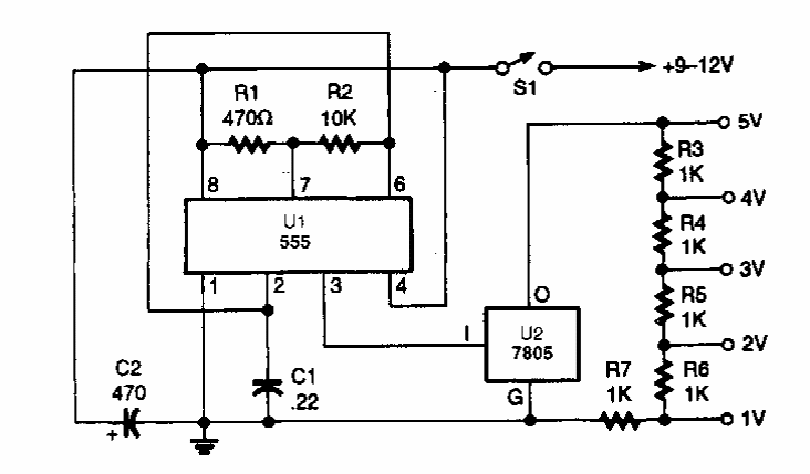
This circuit is from an old Popular Electronics. The circuit is based on a 555 and a 5V voltage regulator.
This circuit was found in the October 1979 issue of Radio Electronics magazine. The circuit is...
The National Semiconductor LM675 operational amplifier can provide up to 3 A of output current. In the...
With this step the motor is energized when the TTL or CMOS input is high. Motors up to 1 amp and...