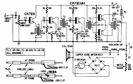
This tracker for audio and RF signals was found in old American documentation. Transistors and transformers are types of the era. Note the test leads.

This tracker for audio and RF signals was found in old American documentation. Transistors and transformers are types of the era. Note the test leads.
