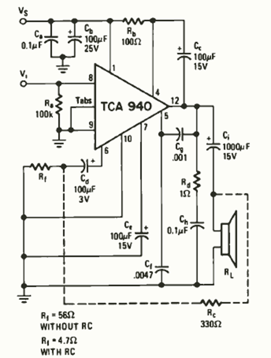
This few-watt amplifier was found in the August 1975 issue of Radio Electronics magazine. The circuit was used in many commercial devices of the time. Cc determines the gain.

This few-watt amplifier was found in the August 1975 issue of Radio Electronics magazine. The circuit was used in many commercial devices of the time. Cc determines the gain.
