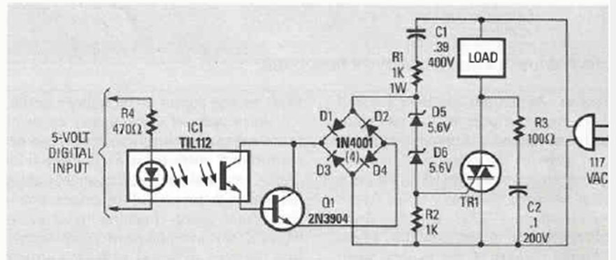
This shield with full-wave triggering was found in the Radio Electronics Experimenter magazine of 1989. The Triac must be according to the load that must be controlled.
This circuit is from a Radio Electronics magazine from May 1989. The source must be symmetrical, and other...
The sophisticated signal tracker/follower with a JFET and integrated circuit 741 was found in a...
This circuit was found in Radio Electronics from the 90s. The transducer is a tweeter and the...