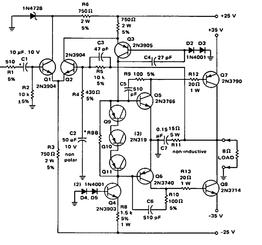
This 8 ohm output amplifier was found in a 1968 Motorola publication. The circuit uses transistors of the time and is powered with a voltage of 25 V + 25 V.
IDT ZSSC3230 Capacitive Sensor Signal Conditioner Available from Mouser Electronics stock, this IDT...
This circuit uses only two common transistors and provides good audio power in a speaker. Readers who...
This is the analog part of the previous circuit with the pressure sensor for the altimeter. The...